С переходом на сборные фундаменты под каркас главного корпуса выполняются сборными и фундаменты под котлы. При разработке фундаментов под котлы представилась возможность использовать для них конструкции сборных фундаментов под каркас главного корпуса (рис. 4.16). Сборные фундаменты обычно проектируются в виде отдельных башмаков с укладкой в небходимых случаях подкладных плит, расширяющих площадь основания башмака. По сравнению с фундаментом с подкладными плитами более экономичны составные фундаменты, состоящие из плит с пазом и ребер. Верх фундаментов обычно заглублен на 2—4 м, а металлический башмак каркаса котла располагается на глубине 400—800 мм. В этом случае необходимо устройство сборного или монолитного подколенника, крепящегося к сборному фундаменту приваркой выпусков арматуры. При сборных подколонниках выпуски крепятся к башмаку аналогично креплению в стыках сборных колонн к фундаменту с помощью зуба.
Башмаки колонн каркаса котла опираются на подколонники и крепятся к ним анкерными болтами или сваркой выпусков арматуры. После установки такой башмак бетонируется. Подколонники должны быть достаточно жесткими и несмещаемыми. На каркас котла, а следовательно, и на его фундамент помимо нагрузки от котла обычно передаются также нагрузки от тех площадок обслуживания, которые опираются на каркас котла.
При устройстве полуоткрытых котельных нагрузки от кровельного покрытия (шатра), а также ветровая нагрузка, действующая на стены котла, воспринимаются каркасом котла и передаются на фундамент. В итоге через колонны каркаса могут передаваться нагрузки, достигающие 1000—2000 т.
Сборные фундаменты могут применяться для котлов любой производительности. Так, например, приведенный на рис. 4.16 фундамент под котел ТГМ-84Б состоит из 13 башмаков, собираемых из 21 сборного элемента. Максимальная масса сборного элемента — 14 т. Сборные элементы устанавливаются на песчаную подготовку.
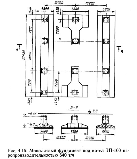
Применение сборных фундаментов под котлы является решением, экономически оправданным. Сопоставление сборного фундамента котла ТПП-200 с монолитным показывает, что трудозатраты на его сооружение составляют соответственно 608 и 1208 чел-дней. Устройство монолитных фундаментов под котлы может быть допущено при необходимости выполнения сплошной плиты или ростверка из перекрестных лент либо при выполнении по каким-либо причинам фундаментов под каркас здания в монолитном железобетоне. Следует отметить, что ленточные фундаменты котлов могут выполняться сборно-монолитными со сборной плитой с пазом и монолитным ребром произвольной длины.
Расход железобетона на фундаменты под котлы различной паропроизводительности приведен в табл. 4.5.



